絶縁型汎用インタフェースボードは、8チャンネルのデジタル信号の入出力間をフォトカプラで絶縁すると共に、入力信号用ジャンパおよび、出力信号用ジャンパの設定や、入力信号コネクタおよび、出力信号コネクタへの信号ラインの接続を変更することによって、色々な機能をフレキシブルに実現できるインタフェースボードです。
ダウンロード
基本機能
汎用インタフェースボードには2.54mmピッチMIL規格に準拠したボックスタイププラグを搭載しておりますので、オプション品の20ピンソケットに圧接した20芯のフラットケーブル(UIFB20P-1.0)を用いて外部信号を入出力することも可能ですが、バラ線圧着ソケットコネクタ付きバラ線(20本)セット(UIFB1P-1.0)を使ってフレキシブルに配線・接続すれば、本ボードが持つ色々な機能が実現可能です。
以下に代表例を示しますが、各チャネルの入力信号用ジャンパの接続を変更すれば、個別にソースコモン接続やシンクコモン接続にすることができます。また、論理演算出力の例では2入力の場合を示していますが、3入力以上への拡張と共に、複数のボードを使ってデータマルチプレクサを構成することも可能です。
絶縁型汎用
インタフェースボード回路図

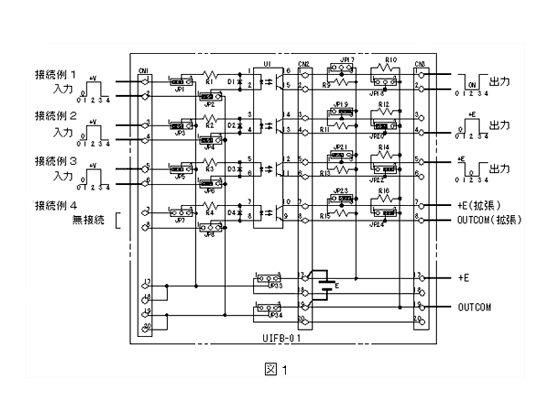
接続例1~4の説明図

01.半導体スイッチ 出力端子:コレクタ、エミッタ
入力信号用ジャンパ:(1-2間接続)
出力信号用ジャンパ:(無接続)
02.信号レベル変換(正論理) 出力端子:エミッタ
入力信号用ジャンパ:(1-2間接続)
出力信号用コレクタ側ジャンパ:(2-3間接続)
出力信号用エミッタ側ジャンパ:(1-2間接続)
03.信号レベル変換(負論理) 出力端子:コレクタ
入力信号用ジャンパ:(1-2間接続)
出力信号用コレクタ側ジャンパ:(1-2間接続)
出力信号用エミッタ側ジャンパ:(2-3間接続)
04.出力電源端子拡張 出力端子:コレクタ(+側)、エミッタ(-側)
入力信号用ジャンパ:(無接続)
出力信号用コレクタ側ジャンパ:(2-3間接続)
出力信号用エミッタ側ジャンパ:(2-3間接続)
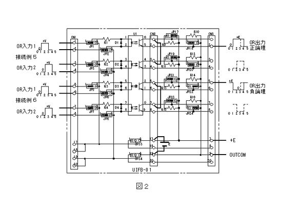
接続例5~6の説明図

01.ワイヤードOR論理出力(正論理) 出力端子:エミッタ
出力信号用コネクタ端子でOR入力に対応するエミッタ端子間を接続します。
OR入力信号用ジャンパ:(1-2間接続)
出力信号用コレクタ側ジャンパ:(2-3間接続)
出力信号用エミッタ側ジャンパ:(1-2間接続)
02.ワイヤードOR論理出力(負論理) 出力端子:コレクタ
出力信号用コネクタ端子でOR入力に対応するコレクタ端子間を接続します。
OR入力信号用ジャンパ:(1-2間接続)
出力信号用エミッタ側ジャンパ:(1-2間接続)
出力信号用エミッタ側ジャンパ:(2-3間接続)
接続例7~8の説明図

01.ワイヤードAND論理出力(正論理) 出力端子:AND入力②のエミッタ
出力信号用コネクタ端子でAND入力①のエミッタ端子をAND入力②のコレクタ端子に接続します。
AND入力①、②信号用ジャンパ:(1-2間接続)
AND入力①の出力信号用コレクタ側ジャンパ:(2-3間接続)
AND入力①の出力信号用エミッタ側ジャンパ:(無接続)
AND入力②の出力信号用コレクタ側ジャンパ:(無接続)
AND入力②の出力信号用エミッタ側ジャンパ:(1-2間接続)
02.ワイヤードAND論理出力(負論理) 出力端子:AND入力①のコレクタ
出力信号用コネクタ端子でAND入力①のエミッタ端子をAND入力②のコレクタ端子に接続します。
AND入力①、②信号用ジャンパ:(1-2間接続)
AND入力①の出力信号用コレクタ側ジャンパ:(1-2間接続)
AND入力①の出力信号用エミッタ側ジャンパ:(無接続)
AND入力②の出力信号用コレクタ側ジャンパ:(無接続)
AND入力②の出力信号用エミッタ側ジャンパ:(2-3間接続)
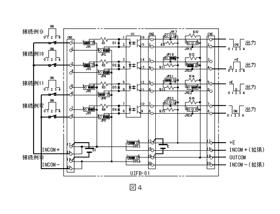
接続例9~13の説明図

01.接続例1)のソースコモン接続
02.接続例2)のソースコモン接続
03.接続例3)のソースコモン接続
04.接続例1)のソースコモン接続
基本仕様
構成品
| ボード | UIFB-01×1 寸法:W60mm×D50mm×H22mm 取付穴:φ3.2×4(中心間隔54mm×44mm) |
|---|---|
| 付属品 | 短絡ソケット(ジャンパ)×34 |
入力部
| コネクタ型名 | MIL規格ボックスタイププラグ(XG4C-2031) |
|---|---|
| コネクタ個数 | 1×20ピン |
| 信号形式 | ドライ接点(個別)、または、電圧入力(個別) |
| 入力抵抗 | 3.3KΩ(LED電流制限抵抗) |
| チャネル数 | 8 |
| 端子数 | 8×2(アノード側・カソード側個別) |
| 回路電圧 | 3.3V~12V(ドライ接点入力の場合は外部より供給) |
| 回路電流 | 1mA~4mA |
| チャネル間絶縁 | 個別絶縁 |
| ジャンパ個数 | 16(各チャネル2個×8チャネル) |
| コモン接続 | 各チャネル個別にジャンパ接続を変更することによって、ソースコモン接続やシンクコモン接続に対応可能 |
| 電源接続端子 | 4(+側×4、-側×4) |
出力部
| コネクタ型名 | MIL規格ボックスタイププラグ(XG4C-2031) |
|---|---|
| コネクタ個数 | 2×20ピン |
| 信号形式 | NPNトランジスタオープンコレクタ・エミッタ(個別)、または、電圧出力 |
| 出力抵抗 | 4.7KΩ(電圧出力時のプルアップ・プルダウン抵抗) |
| チャネル数 | 8 |
| 端子数 | 8×8×8(コレクタ・エミッタ個別×8) |
| 回路電圧 | 3.3V~24V |
| 負荷電流 | Max. 100mA |
| チャネル間絶縁 | 個別絶縁 |
| ジャンパ個数 | 16(各チャネル2個×8チャネル) |
| コモン接続 | 各チャネル個別にジャンパ接続を変更することによって、ソースコモン接続やシンクコモン接続に対応可能 |
| 電源接続端子 | 4(+側×2、-側×2) |
| 電源ジャンパ | 2(ジャンパの接続を変更することによって、入出力回路電源の共通化や入力回路側電源接続端子の拡張に対応可能) |
構成品

絶縁型汎用
インタフェースボード本体
縁型汎用インタフェースボード本体です。8チャンネルのデジタル信号の入出力間をフォトカプラで絶縁することができます。

短絡ソケット(ジャンパ)
短絡ソケット(ジャンパ)です。34個付属しています。短絡プラグに差し込んで接続を変更します。
オプション品

MIL規格バラ線
圧着ソケットコネクタ付き
バラ線1m(20本)セット
MIL規格バラ線圧着ソケットコネクタ付きバラ線1m(20本)セットは、絶縁型汎用インタフェースボードのMIL規格ボックスタイププラグと外部機器の信号を接続するケーブルです。

MIL規格バラ線
圧着ソケットコネクタ付き
バラ線3m(20本)セット
MIL規格バラ線圧着ソケットコネクタ付きバラ線3m(20本)セットは、絶縁型汎用インタフェースボードのMIL規格ボックスタイププラグと外部機器の信号を接続するケーブルです。

MIL規格ソケットコネクタ片端付き
フラットケーブル
MIL規格ソケットコネクタ片端付きフラットケーブルは、絶縁型汎用インタフェースボードのMIL規格ボックスタイププラグ(XG4C-2031)と外部機器の信号を接続するケーブルです。